Эжектор — высокотехнологичное устройство для передачи кинетической энергии между средами с различной скоростью движения. Оборудование разработано в соответствии с современными техническими стандартами и требованиями промышленной безопасности.
Области применения
- Системы подготовки и обработки газа
- Работа в составе нефтегазосепарационного оборудования / технологических комплексов
- Работа в составе установок предотвращения уноса капельной жидкости
Основные виды эжекторов
Паровой эжектор — струйный аппарат для для откачки газов из замкнутых пространств и поддержания постоянного разрежения.
Пароструйный эжектор — аппарат, который откачивает жидкость, пар или газ из замкнутого пространства, используя энергию струи пара. Принцип действия основан на выносе паром на высокой скорости потока среды, проходящего по кольцевому каналу вокруг сопла.
Газовый эжектор — устройство, в которых избыточное давление газов высокого давления расходуется на компримирование низконапорных газов и подачу их в систему промыслового сбора и обработки газов.
Вакуумный эжектор — эжектор, работа которого основана на эффекте Вентури. Проходящий через сопло сжатый воздух вызывает увеличение динамического и снижение статического давления. В результате этого создается вакуум. Сжатый воздух смешивается с откачиваемым и выходит наружу через глушитель.
Комплект поставки
- Основной блок эжектора
- Защитный фильтр
- Комплект фланцев и крепежа
- Монтажные приспособления
- Элементы заземления
- Запасные части на период эксплуатации
- Техническая документация
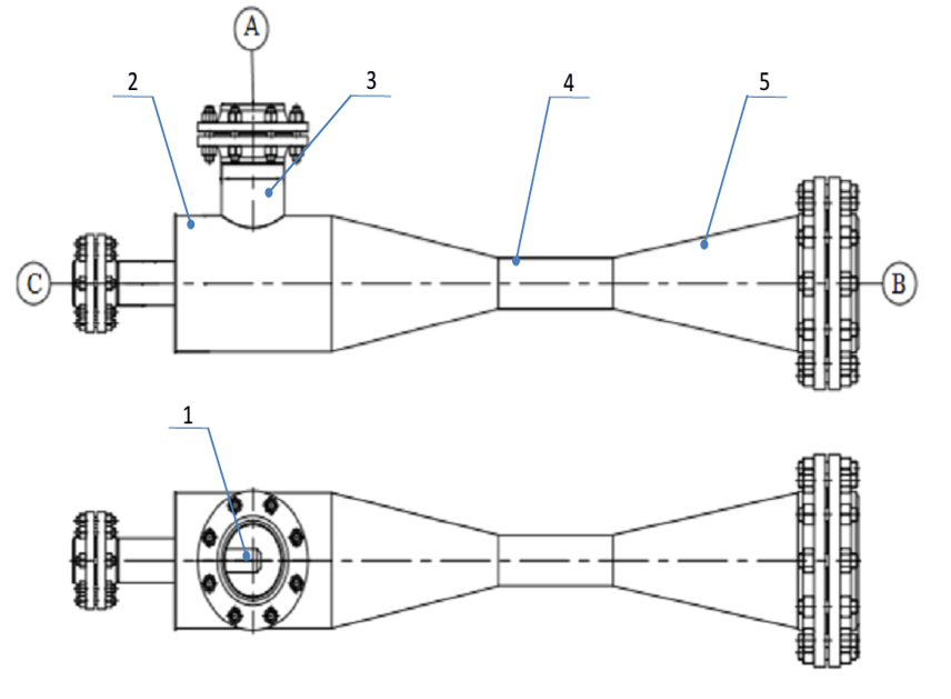
Пример принципа действия эжектора для комбинированной установки производства элементарной серы
Высоконапорный пар подается через штуцер С, проходя с высокой скоростью и давлением через сопло (сужающееся сечение) 1, создает область разрежения в приемной камере 2. За счет создавшегося разрежения эжектируемая жидкость поступают в приемную камеру по патрубку 3 (штуцер A). В камере смешения 4 два потока объединяются, и формируется смешанный поток. Пройдя камеру смешения, поток устремляется в диффузор 5, в котором происходит его торможение и рост давления. Для предотвращения образования твердой серы во время эксплуатации и останова конструкцией эжектора предусмотрена паровая рубашка для камеры всасывания и диффузора.
